当前位置:首页建筑工程一级注册建筑师建筑结构->所示结构的几何组成为(  )。

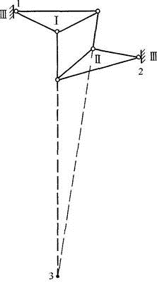
所示结构的几何组成为(  )。

建筑结构,历年真题,2009年一级注册建筑师《建筑结构》真题精选

  • A.常变体系
  • B.瞬变体系
  • C.无多余约束几何不变体系
  • D.有多余约束几何不变体系
答案: C
本题解析:

如所示,把上边三角形看作刚片Ⅰ,把下边三角形看作刚片Ⅱ,把大地看作刚片Ⅲ,而把连接刚片Ⅰ和Ⅱ的两根杆看作一个虚铰3,铰1、铰2、铰3三个铰不在同一直线上,由三刚片原则可知,结构为无多余约束的几何不变体系。

建筑结构,历年真题,2009年一级注册建筑师《建筑结构》真题精选

更新时间:2022-01-20 00:34
纠错

你可能感兴趣的试题

单选题

建设项目的实际造价是(  )。

  • A.中标价
  • B.承包合同价
  • C.竣工决算价
  • D.竣工结算价
查看答案
单选题

砌体结构的圈梁被门窗洞口截断时,应在洞口上部增设相同的附加圈梁,其搭接长度不应小于附加圈梁与原圈梁中到中垂直距离的2倍,且不能小于下列哪一个数值?( )

  • A.0.6m
  • B.0.8m
  • C.1.0m
  • D.1.2m
查看答案
单选题

建筑结构,章节练习,建筑结构

  • A.<img src='http://tp.mxqe.com/data/785/13550793_0_1.jpg' alt='建筑结构,章节练习,建筑结构' title='建筑结构,章节练习,建筑结构'>
  • B.<img src='http://tp.mxqe.com/data/785/13550793_0_2.jpg' alt='建筑结构,章节练习,建筑结构' title='建筑结构,章节练习,建筑结构'>
  • C.<img src='http://tp.mxqe.com/data/785/13550793_0_3.jpg' alt='建筑结构,章节练习,建筑结构' title='建筑结构,章节练习,建筑结构'>
  • D.<img src='http://tp.mxqe.com/data/785/13550793_0_4.jpg' alt='建筑结构,章节练习,建筑结构' title='建筑结构,章节练习,建筑结构'>
查看答案
单选题

建筑结构,章节练习,建筑结构

  • A.两者拱轴力完全一样
  • B.<img src='http://tp.mxqe.com/data/785/13550702_0_1.jpg' alt='建筑结构,章节练习,建筑结构' title='建筑结构,章节练习,建筑结构'>
  • C.<img src='http://tp.mxqe.com/data/785/13550702_0_2.jpg' alt='建筑结构,章节练习,建筑结构' title='建筑结构,章节练习,建筑结构'>
  • D.两者受力完全不同,且Ⅰ中拱轴力小于Ⅱ中的拱轴力
查看答案
单选题

建筑结构,章节练习,建筑结构

  • A.(-)(+)(+)
  • B.(-)(-)(+)
  • C.(+)(-)(-)
  • D.(+)(-)(+)
查看答案
单选题

建筑结构,章节练习,建筑结构

  • A.拉力P/2
  • B.压力P/2
  • C.拉力P
  • D.压力P
查看答案
单选题

建筑结构,章节练习,建筑结构

  • A.48kN
  • B.42kN
  • C.36kN
  • D.24kN
查看答案
单选题

建筑结构,章节练习,建筑结构

  • A.<img src='http://tp.mxqe.com/data/785/13550157_0_1.jpg' alt='建筑结构,章节练习,建筑结构' title='建筑结构,章节练习,建筑结构'>
  • B.<img src='http://tp.mxqe.com/data/785/13550157_0_2.jpg' alt='建筑结构,章节练习,建筑结构' title='建筑结构,章节练习,建筑结构'>
  • C.<img src='http://tp.mxqe.com/data/785/13550157_0_3.jpg' alt='建筑结构,章节练习,建筑结构' title='建筑结构,章节练习,建筑结构'>
  • D.<img src='http://tp.mxqe.com/data/785/13550157_0_4.jpg' alt='建筑结构,章节练习,建筑结构' title='建筑结构,章节练习,建筑结构'>
查看答案
单选题

建筑结构,章节练习,建筑结构

  • A.0.6188
  • B.0.207
  • C.0.5
  • D.0.1
查看答案
单选题

建筑物共有四个抗震设防类别,下列哪一类建筑的分类原则是正确的?( )

  • A.甲类建筑属于重要的建筑
  • B.乙类建筑属于较重要的建筑
  • C.丙类建筑属于一般重要的建筑
  • D.丁类建筑属于抗震次要建筑
查看答案