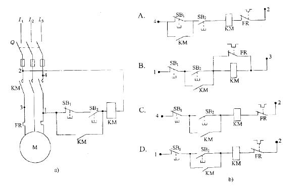
如图a)所示控制电路的错误接线不能使电动机M起动。要使M起动并能连续运转,且具备过载保护、失压保护、短路保护的功能,正确的接线是图b)中哪个图所示?

与超高压直流相比,特高压直流输送规模更大,因此一旦直流故障闭锁,其产生( )的规模也更大。
当前我国既处于发展的重要战略机遇期,又处于社会矛盾凸显期。要充分认识新形势下加强和创新社会管理的重大意义,统筹经济建设、政治建设、文化建设、社会建设以及生态文明建设,把社会管理工作摆在更加突出的位置。社会管理的过程,就是不断解决矛盾的过程。一些地方积极探索建立重大工程项目建设和重大政策制定的社会稳定风险评估机制,从源头上减少了因决策不当造成的社会矛盾。一些地方深入开展矛盾纠纷“大排查、大调处”活动,例如江苏南通按照调解优先的原则,构建了人民调解、行政调解,司法调解三位一体的“大调解”工作体系,有效化解了大批矛盾纠纷。社会管理说到底是对人的管理和服务,涉及广大人民群众切身利益,必须始终坚持以人为本、执政为民、不断实现好、维护好、发展好最广大人民的根本利益。例如,针对流动人口服务管理存在的突出问题,一些地方探索实行“一证通”制度、“一站式”服务,解决他们在就业、居住、就医、子女入学等方面的实际困难,逐步实现由控制型管理向服务型管理的转变。经过长期探索和实践,我国初步形成了合理的社会管理格局,既充分发挥党和政府的主导作用,又充分发挥多元主体的协同、自治、自律、互律作用。例如浙江温岭探索“参与式预算”。扩大了群众参与度,多种社会力量与政府形成了社会管理合力。当前要加强和创新社会管理的主要原因在于:( )
避雷器的保护水平与其主要电气参数有关,下列属于避雷器的主要电气参数的是( )。
当前,全球能源互联网构想的推进还面临不少现实问题,例如,短期内,( )发电综合成本仍然高于化石能源。
2008年中国家庭居民的消费水平持续提高,与2006年社会状况综合调查结果比较,消费支出总额从17388元升高到22555(未考虑价格变动的因素),消费结构也进一步完善,作为家庭生活水平的恩格尔系数(家庭食品支出占消费支出的比例)进一步降低。在2008年城乡家庭消费支出细项中,列前三位的消费类型是食品.教育和医疗,分别占总支出的34.0%.11.5%和10.6%
调查还显示,城乡居民消费的总体结构及家庭生存型消费(包括食品与衣着类)与发展型消费(包括居住.交通通讯.文教.娱乐用品.医疗保健.旅游等)所占比重,都发生了重要变化。从购买商品和服务的消费情况看,城乡居民消费层次有所提高。大众耐用消费品普及率提高较快,但是家庭消费率总体仍偏低。

城乡家庭居民的消费结构最主要的特点是( )
以下关于国家电网有限公司的描述,不正确的是( )。
2013年10月11日晚,王某酒后在某酒店酗酒闹事,砸碎店里玻璃数块。此时某区公安分局太平派出所民警任某执勤路过酒店,任某欲将王某带回派出所处理,王某不从,与任某发生推搡。双方在扭推过程中,任某故意将王某推倒,王某头撞在水泥地上,当时失去知觉,送往医院途中死亡,后被鉴定为颅内出血死亡。2013年12月20日,王某之父申请国家赔偿。如果本案公安机关需承担赔偿责任,那么下列关于赔偿方式和标准的说法正确的是:( )
防火墙具有( )基本功能。
社会主义核心价值观是当代中国精神的集中体现,凝结着全体人民共同的价值追求。( )
世界范围内清洁能源分布很不均衡,亚洲水能资源丰富,占世界水能资源的比例为( )%。